АЛЬФА ФРОСТ ДВ - Запчасти к рефрижераторным контейнерам Carrier (Кариер), Thermo King (Термо Кинг), Daikin (Дайкин), StarCool (СтарКул)

Список запасных частей (Part List) для рефрижераторных контейнеров моделей Carrier ThinLINE 69NT40-511-200–299

ОГЛАВЛЕНИЕ

ВВЕДЕНИЕ
ИДЕНТИФИКАЦИЯ КОНФИГУРАЦИИ
ОПИСАНИЕ ОПЦИЙ
ИНСТРУКЦИИ ПО ЗАКАЗУ
БУКВЕННЫЕ ОБОЗНАЧЕНИЯ
1. КРАТКИЙ СПИСОК — Зажимы, фильтр-осушитель, предохранители, стяжки и клеммы для проводов
2. СБОРКА ХОЛОДИЛЬНОГО АГРЕГАТА
2.1 Рефрижераторная установка - расположение секций
2.2 Водосточные желоба
2.3 Ручки
2.4 Порт для термометра
2.5 Дверца блока управления
2.6 Блок управления — алюминиевый или композитный
2.7 Блок управления — Стандартные электрические компоненты, дистанционный мониторинг и счетчик моточасов
2.8 Блок управления — Возможность управления вентилятором испарителя, EBS и EDS, только EBS и переключатель вентилятора конденсатора
2.9 Блок управления — Секция модуля контроллера и программные карты
2.10 Блок управления — Секция модуля дисплея и модуля интерфейса связи
2.11 Двигатель вентилятора конденсатора, конденсаторный змеевик и секция решетки с болтовым или шарнирным креплением
2.12 Секция компрессорных трубок
2.13 Секция ресивера
2.14 Конденсатор с водяным охлаждение
2.16 Комплекты для установки и зондирования USDA
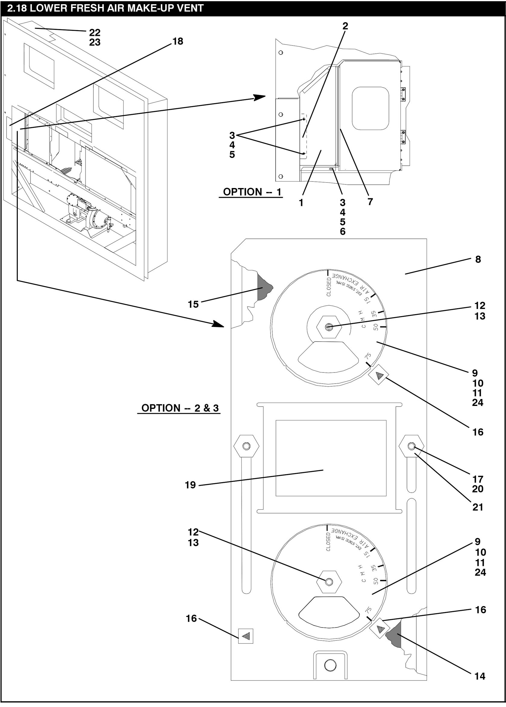
2.18 Нижний приточный вентиляционный канал для свежего воздуха
2.20 Секция испарительного змеевика
2.22 Задняя панель в сборе — алюминиевая, скрепленная болтами, с дверцей, соответствующей стандартам USDA
2.23 Задняя панель в сборе — алюминиевая, скрепленная болтами, с дверцей доступа к зонду
2.24 Задняя панель в сборе — алюминиевая, с петлями
2.25 Задняя панель в сборе — нержавеющая сталь, шарнирная
2.26 Регистратор температуры Partlow
2.27 Регистратор температуры Сагиномия
2.28 Электронный регистратор температуры Партлоу
2.29 Регистратор температуры
2.30 Крепление компрессора, защитные кожухи, нагреватель картера и компоненты нагревателя сливной линии
2.31 Головка цилиндра компрессора
2.32 Компоненты крепления кабелей (эластичные шнуры и J-образные крюки)
2.33 Кабели напряжения (460 В и 230 В)
2.34 Автотрансформатор (с блоком CB2 и трансформаторным мостом и без них)
2.35 Этикетки и наклейки
3.1 Устройство чтения данных
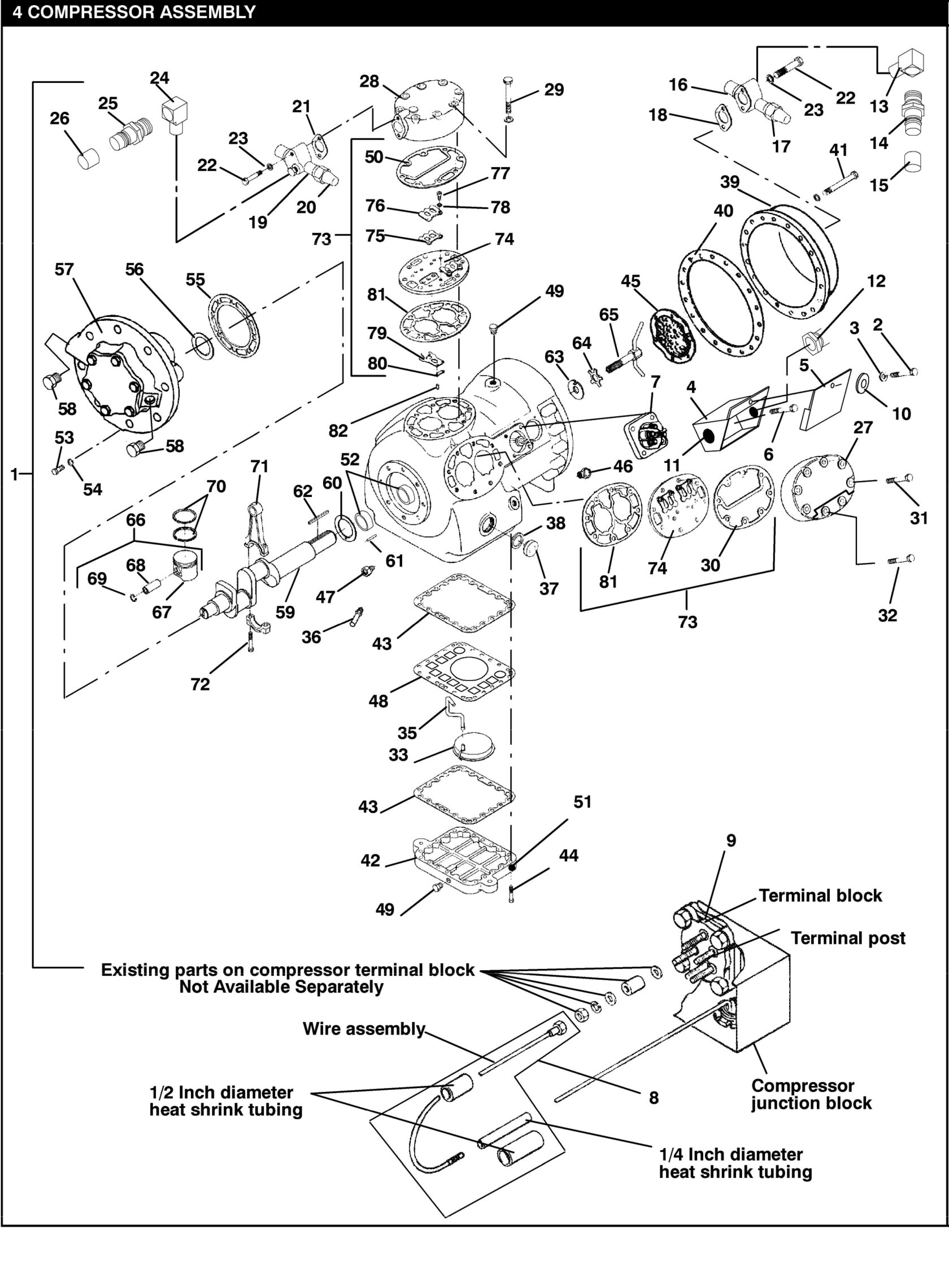
4. Компрессор
4.1 Вариант 1R - замена компрессора в рамках сервисного обслуживания
4.2 Группа клеммных монтажных и распределительных коробок
4.3 Группа сервисных клапанов
4.4 Компрессор - Группа корпуса двигателя
4.5 Насосная группа
4.6 Группа коленчатого вала, шатунов и поршней
4.7 Группа клапановых пластин
4.8 Комплект прокладок
5. Контроллер ML 2i
6. Инструменты

ВВЕДЕНИЕ

1.ВВЕДЕНИЕ
Холодильные установки Carrier Transicold модели 69NT40-511-200 серии имеют легкую алюминиевую раму, предназначенную для установки в передней части контейнера и служащую в качестве передней стенки контейнера.
2. ИДЕНТИФИКАЦИЯ КОНФИГУРАЦИИ
Информация об идентификации агрегата представлена ​​на табличке, расположенной рядом с компрессором. На табличке указаны номер модели агрегата, серийный номер агрегата и идентификационный номер деталей агрегата (PID). Номер модели определяет общую конфигурацию агрегата, а PID предоставляет информацию о конкретном дополнительном оборудовании, заводских условиях, позволяющих установить дополнительное оборудование на месте эксплуатации, и различиях в деталях.
Идентификация конфигурации для рассматриваемых здесь моделей приведена в руководстве Carrier Transicold Container Unit Matrix, публикация T-300. Печатные копии руководства T-300 можно получить у компании Carrier Transicold.
3. ОПИСАНИЕ ОПЦИЙ
На базовый блок могут быть установлены различные опции, как на заводе, так и в полевых условиях. Эти опции перечислены в таблицах и описаны в следующих подпунктах.
3.1 Батарея
Контроллер охлаждения может быть оснащен стандартными сменными батареями или перезаряжаемым аккумуляторным блоком.
3.2 Осушение
Устройство может быть оснащено датчиком влажности. Этот датчик позволяет установить заданное значение влажности в контроллере. В режиме осушения контроллер будет работать для снижения уровня влажности внутри контейнера.
3.3 Блок управления
Блок управления может быть изготовлен из алюминия или композитного материала, и каждый тип блока может быть оснащен запирающейся дверью.
3.4 Отображение температуры
Устройство может быть оснащено датчиками температуры на всасывании и нагнетании. Показания датчиков могут отображаться на дисплее контроллера.
3.5 Отображение давления
Устройство может быть оснащено манометрами на всасывании и нагнетании или преобразователями давления на всасывании и нагнетании, или же отображение давления может отсутствовать. Показания датчика можно просмотреть на дисплее контроллера.
3.6 USDA
Устройство может поставляться с фитингами для дополнительных температурных датчиков, которые позволяют записывать данные USDA холодной обработки с помощью встроенной функции DataCORDER контроллера холодильной установки Micro-Link.
3.7 Запрашивающее устройство
Устройства, использующие функцию DataCORDER, оснащены разъемами для подключения оборудования для загрузки записанных данных. Могут быть установлены два разъема: один доступен с передней стороны контейнера, а другой установлен внутри контейнера (с разъемами USDA).
3.8 Дистанционный мониторинг
Устройство может быть оснащено разъемом для дистанционного мониторинга. Этот элемент позволяет подключать дистанционные индикаторы для режимов COOL, DEFROST и IN RANGE. Если не указано иное, разъем устанавливается в месте расположения блока управления.
3.9 Связь
Устройство может быть оснащено модулем интерфейса связи. Модуль интерфейса связи является подчиненным модулем, обеспечивающим связь с центральной станцией мониторинга. Модуль будет отвечать на запросы и передавать информацию по основной линии электропитания. Для получения дополнительной информации см. техническое руководство по судовой системе.
3.10 Компрессор
Установка оснащена односкоростным поршневым компрессором.
3.11 Конденсаторный змеевик
Установка может быть оснащена двухрядным или четырехрядным змеевиком с использованием трубок номинальным диаметром 3/8 дюйма, или же трехрядным змеевиком с использованием трубок диаметром 7 мм. Требуемое количество хладагента различно для каждого змеевика.
3.12 Автотрансформатор
Для работы от сети 190/230 В, трехфазной, 50/60 Гц, может быть установлен автотрансформатор. Автотрансформатор повышает напряжение питания до номинального напряжения 380/460 В, необходимого для базового блока. Автотрансформатор также может быть оснащен индивидуальным автоматическим выключателем для сети 230 В. Если устройство оснащено автотрансформатором и модулем связи, автотрансформатор будет оснащен трансформаторным мостом (TBU) для обеспечения связи.
3.13 Регистратор температуры
На устройство может быть установлено одно из трех устройств регистрации температуры. К таким устройствам относятся механический регистратор производства Partlow Corporation, механический регистратор производства Saginomiya Corporation и электронный регистратор производства Partlow Corporation.
3.14 Водосточные желоба
На блок управления и секцию регистратора могут быть установлены водосточные желоба для отвода дождевой воды от элементов управления. Различные типы желобов включают стандартные желоба, скрепленные болтами, удлиненные желоба и желоба, скрепленные заклепками.
3.15 Ручки
Устройство может быть оснащено ручками для облегчения доступа к сложенным контейнерам. Эти ручки могут включать в себя фиксированные ручки (расположенные по бокам устройства) и/или шарнирную ручку в центре (прикрепленную к крышке конденсаторного змеевика).
3.16 Отверстие для термометра
Устройство может быть оснащено отверстиями в передней части рамы для установки термометра для измерения температуры подаваемого и/или возвратного воздуха. При наличии отверстия (отверстий) потребуется крышка и цепочка.
3.17 Водяное охлаждение
Холодильная система может быть оснащена водяным охлаждаемым конденсатором. Конденсатор изготовлен с использованием медно-никелевых трубок для применения в морской воде. Водяной охлаждаемый конденсатор соединен последовательно с воздушным конденсатором и заменяет стандартный ресивер устройства. При работе с водяным охлаждаемым конденсатором вентилятор конденсатора отключается либо реле давления воды, либо выключателем вентилятора конденсатора.
3.18 Задние панели
В качестве задних панелей могут устанавливаться панели из алюминия и нержавеющей стали. Панели могут быть оснащены дверцами доступа и/или креплением на петлях.
3.19 Кабель 460 Вольт
Для основной сети 460 Вольт доступны различные варианты силовых кабелей и вилок. Варианты вилок позволяют адаптировать кабели к требованиям каждого заказчика.
3.20 Кабель 230 Вольт
Устройства, оснащенные автотрансформатором, требуют дополнительного силового кабеля для подключения к источнику 230 В. Доступны различные варианты силовых кабелей и вилок. Варианты вилок позволяют адаптировать кабели к требованиям каждого заказчика.
3.21 Крепление кабеля
Для хранения силовых кабелей доступны различные варианты. Эти варианты представляют собой модификации передней крышки компрессорной секции.
3.22 Верхний воздухозаборник (подкачка свежего воздуха)
Устройство может быть оснащено верхним воздухозаборником. Отверстия также могут быть оборудованы сетками.
3.23 Нижний приток свежего воздуха
Устройство может быть оснащено нижним притоком свежего воздуха. Эти устройства поставляются в двух вариантах исполнения: стандартном и макро. Отверстия также могут быть оборудованы сетками.
3.24 Контролируемая атмосфера
Установки могут быть оснащены опцией TransFresh. Для получения информации о системе TransFresh обращайтесь: TransFresh Corporation, P.O. Box 1788, Salinas CA 93902
3.25 Арктический режим
Для улучшения работы в условиях низких температур установка может быть оснащена нагревателем картера и/или нагревателем дренажной линии конденсата. Нагреватель картера включается перед запуском для нагрева компрессорного масла и испарения любого жидкого хладагента, который может присутствовать в картере. Нагреватель дренажной линии включается для предотвращения замерзания системы отвода конденсата из испарителя.
3.26 Увлажнение
Установка может быть оснащена системой управления влажностью Carrier Transicold NatureFresh. Система включает в себя резервуар для воды, водяной насос, водонагреватель и распылитель, а также различные устройства управления и мониторинга. Он предназначен для добавления дополнительной влаги в подаваемый воздух для контроля уровня влажности груза. Доступен отдельно изготовленный комплект для ручного укрытия и детали для системы CTD NatureFresh.
3.27 Коррекция мощности
Установка может быть оснащена комплектом конденсаторов для коррекции коэффициента мощности, чтобы помочь в коррекции дисбаланса потребляемого компрессором тока.
3.28 Испаритель
В качестве опций для секции испарителя могут быть установлены герметичный терморасширительный клапан и теплообменники двух размеров.
3.29 Работа вентилятора испарителя
Доступны две системы управления двигателем вентилятора испарителя. На установках с нормальной работой вентилятора испарителя открытие внутреннего защитного устройства вентилятора испарителя приведет к отключению установки. На установках, оснащенных возможностью работы с одним вентилятором испарителя, установлены дополнительные контакторы, позволяющие установке продолжать работу с одним вентилятором.
3.30 Маркировка
Маркировка с инструкциями по эксплуатации и кодами функций будет отличаться в зависимости от установленных опций. Например, для описания запуска установки, оснащенной автотрансформатором, требуются дополнительные инструкции по эксплуатации. Если этикетки доступны на дополнительных языках, они указаны в списке комплектующих.
3.31 Комплект монтажных плат
Каждый блок оснащен комплектом монтажных плат с принципиальными схемами и схемами подключения. Комплекты монтажных плат заказываются с использованием семизначного базового номера детали и двухзначного номера с дефисом.
3.32 Контроллер
Запасные контроллеры могут быть заказаны как универсальный неконфигурированный контроллер (без программного обеспечения для конфигурации) или конфигурированный.
3.33 Шаговый привод
Все блоки, описанные в данном руководстве, имеют всасывающие модулирующие клапаны, которые регулируют производительность системы. Блоки, обозначенные как оснащенные «шаговым приводом», имеют цифровые управляющие двигатели, установленные на всасывающем модулирующем клапане для ступенчатого открытия и закрытия клапана по мере необходимости.
3.34 Решетка конденсатора
Доступны два типа решеток конденсатора: с прямым креплением болтами и с откидными решетками.
3.35 Аварийный обход
Устройство может быть оснащено переключателями для аварийного обхода контроллера. Переключатель «АВАРИЙНЫЙ ОБХОД» предназначен для обхода контроллера в случае его отказа. Переключатель «АВАРИЙНАЯ РАЗМОРАЖИВАНИЕ» предназначен для обхода всех элементов управления и перевода устройства в режим разморозки.

ОБОЗНАЧЕНИЯ ОПЦИЙ

-- = Функция не применима
X = Функции, применимые к модели
P = Заводская установка оборудования, позволяющая выполнить установку на месте
КОДЫ БАТАРЕИ
S = Стандартные элементы питания
R = Перезаряжаемые элементы питания
КОДЫ БЛОКА УПРАВЛЕНИЯ
A = Алюминиевый корпус без дверного замка
AL = Алюминиевый корпус с дверным замком
C = Композитный корпус без дверного замка
CL = Композитный корпус с дверным замком
КОДЫ USDA и КОМПЛЕКТА ЗОНДА
D = Вариант D
V = Вариант V
1 = Вариант 1
КОДЫ ИНТЕРРОГАТОРА
1 = Левое прямое крепление
2 = Правое крепление
3 = Крепление корпуса
4 = Левое крепление
5 = Левое угловое крепление
6 = Правое крепление
КОДЫ СВЯЗИ
1 = Стандартный
2 = Высокая скорость передачи данных
3 = Чипсет-модем
4 = Низкая скорость передачи данных
КОДЫ КОМПРЕССОРА
1R = Односкоростной поршневой компрессор
КОДЫ КАТУШКИ КОНДЕНСАТОРА
3 = Трехрядная (7 мм) катушка
4 = Четырехрядная Катушка
КОДЫ АВТОТРАНСФОРМАТОРА
1 = Трансформатор установлен
2 = Трансформатор с установленным выключателем CB2
3 = Трансформатор с выключателем CB2 и розеткой
4 = Трансформатор с выключателем CB2 и блоком переключения трансформатора
1 — Стандартные водосточные желоба на болтах
3 — Удлинённые водосточные желоба
4 — Заклёпанные водосточные желоба
КОДЫ РУЧЕК
1 — Две стороны и одна центральная
2 — Две стороны
3 — Одна центральная
4 — Одна сторона, две центральные
КОДЫ ПОРТОВ ТЕРМОМЕТРА
1 — Порт подачи воздуха
2 — Порт обратной подачи воздуха
B — Оба порта
КОДЫ ВОДЯНОГО ОХЛАЖДЕНИЯ
W — Переключатель давления воды
F — Переключатель вентилятора конденсатора
КОДЫ ЗАДНЕЙ ПАНЕЛИ
1 — Панели на болтах
2 — Панели на болтах с дверцей, соответствующей стандартам USDA
3 — Панели на болтах с дверцей для доступа к датчику
4 — Откидные панели
5 — Откидные панели из нержавеющей стали
КОДЫ КАБЕЛЕЙ 460 ВОЛЬТ
1 = Вариант 1
2 = Вариант 2
3 = Вариант 3
4 = Вариант 4
5 = Вариант 5
6 = Вариант 6
7 = Вариант 7
8 = Вариант 8
9 = Вариант 9
КОДЫ КАБЕЛЕЙ 230 ВОЛЬТ
1 = Вариант 1
2 = Вариант 2
3 = Вариант 3
4 = Вариант 4
5 = Вариант 5
6 = Вариант 6
7 = Вариант 7
8 = Вариант 8
9 = Вариант 9
КОДЫ ОГРАНИЧЕНИЯ КАБЕЛЕЙ
1 = Кабельная дверь
2 = Только левый эластичный шнур
3 = J-образный крюк
4 = Левый и правый эластичные шнуры
5 = Левый эластичный шнур с удлиненным левым защитным кожухом
6 = Левый и правый эластичные шнуры с удлиненными защитными кожухами
КОДЫ ВЕРХНЕГО ВОЗДУХА
1 = Нет верхнего притока свежего воздуха
2 = Верхний приток свежего воздуха Установлено
3 = Верхний воздуховод, установленный с сетками
КОДЫ НИЖНЕГО ВОЗДУХА
1 = Нижний приток свежего воздуха отсутствует
2 = Нижний приток свежего воздуха установлен
3 = Нижний приток свежего воздуха установлен с сетками
КОНТРОЛИРУЕМАЯ АТМОСФЕРА
T = TransFresh
КОДЫ АРКТИЧЕСКОГО РЕЖИМА
C = Нагреватель картера
L = Нагреватель сливной линии
B = Нагреватель картера и нагреватель сливной линии
КОДЫ РЕШЕТКИ КОНДЕНСАТОРА
B = Решетка на болтах
H = Решетка на петлях
КОДЫ ИСПАРИТЕЛЯ
2 = Новый змеевик с герметичным терморегулирующим клапаном и
стандартным теплообменником
3 = Новый змеевик с герметичным терморегулирующим клапаном и
большим теплообменником
КОДЫ ВЕНТИЛЯТОРА ИСПАРИТЕЛЯ
1 = Нормальная работа вентилятора испарителя
2 = Возможность работы с одним вентилятором испарителя
КОДЫ МАРКИРОВКИ
1 = Английский
2 = Английский/Испанский
3 = Английский/Французский
4 = Английский/Корейский
5 = Английский/Традиционный Китайский
6 = Английский/Упрощенный китайский
7 = Английский/Японский/Китайский
КОДЫ АВАРИЙНОГО ОБХОДА
B = Аварийный обход и аварийное размораживание
EB = Только аварийный обход
БУКВЕННЫЕ ОБОЗНАЧЕНИЯ
В данном списке для классификации элементов используются следующие буквенные обозначения:
N/A (Not Available) = Недоступно
NS (Not shown in illustration) = Не показано на иллюстрации
NSS (Not sold separately) = Не продается отдельно — Закажите следующий по порядку узел или комплект
PID (Parts Identification Number) = Идентификационный номер детали — необходим для определения конфигурации устройства.
PL (Purchase Locally) = Приобретайте на месте
SST (Stainless Steel) = Нержавеющая сталь — серия 300, если не указано иное.
SV (Suffix SV) = Суффикс СВ — добавляется к номеру детали, обозначая запасную часть для сервисного обслуживания.